OSMA HTED rohová odbočka 160/110/110 67°
Kód / Model: 17440OSMA
Popis
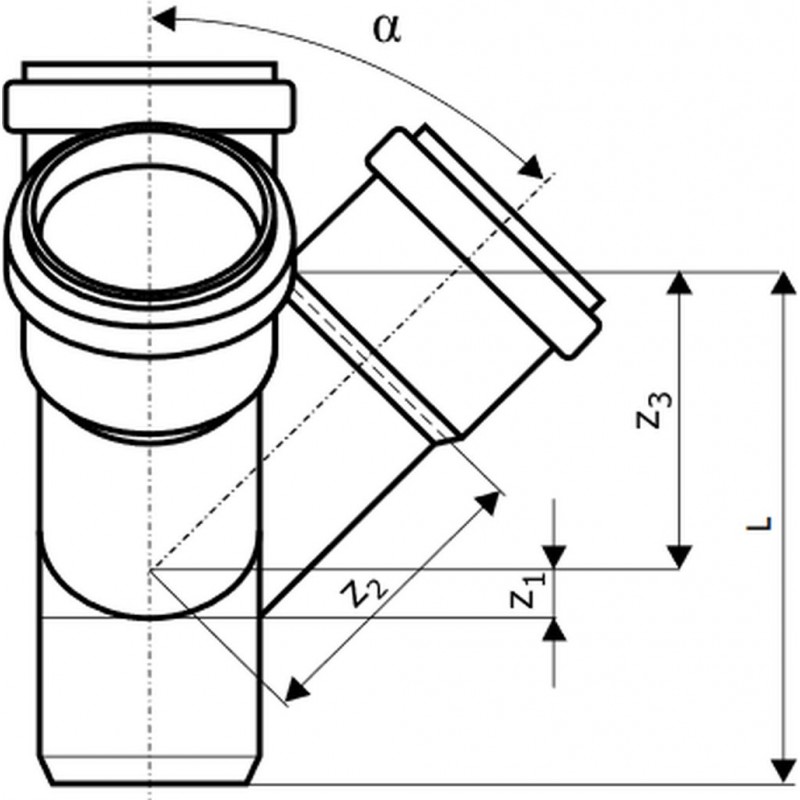
Technické údaje:• Jmenovitý rozměr (DN): 160/110/110 mm
• Odbočka pod úhlem: 67°
• Konstrukční délka tvarovky (z1): 50 mm
• Konstrukční délka tvarovky (z2): 60 mm
• Konstrukční délka tvarovky (z3): 95 mm
• Délka hladkého konce (L): 240 mm
Odpadní tvarovky z polypropylenu, odolávající vysokým teplotám. Připojovací, odpadní, větrací a svodné potrubí uvnitř budov (oblast použití B) v případě vyššího teplotního, či chemického zatížení, avšak bez nároku na sníženou hořlavost.
Splňuje i nejvyšší požadavky
Odpadní trubky a tvarovky HT systém Plus® jsou špičkovým výrobkem s vysokými užitnými vlastnostmi. Při jejich navrhování se vycházelo z požadavků současné architektury a stavebnictví s ohledem na vysoké mechanické, hygienické a zejména ekologické požadavky. Podmínky výroby, rozměry i podmínky zkoušek odpovídají ČSN EN 1451-1.
Materiál – PP + minerální plnivo
Surovinou pro výrobu odpadních trubek a tvarovek je polypropylen (PP). Materiál s vysokou houževnatostí, dlouhodobou teplotní a chemickou stabilitou, který propůjčuje potrubí mimořádně dlouhou životnost.
Hladká a homogenní stěna
Výrobní postup zaručuje dokonale hladký vnitřní i vnější povrch trubek i tvarovek. Ten spolu s precizně navrženým tvarem hrdlového spoje zaručuje vynikající hydraulické vlastností potrubí. Hrdlový spoj je těsněn vícenásobným těsnícím elementem, zajišťujícím nejen dokonalou těsnost ale i pružnost spoje.
Ekologie
Produkt je vyráběn technologickým postupem, který je šetrný k přírodnímu prostředí. Je plně recyklovatelný a v případě tepelného rozkladu neprodukuje toxické zplodiny.
Široký sortiment
HT systém Plus® je kompletní systém pro vnitřní kanalizaci se širokým výběrem prvků, jehož struktura byla adaptována pro potřeby tuzemské výstavby. Je snadno propojitelný se všemi stávajících kanalizačních potrubí.
Snadná montáž
Snadné spojování pomocí násuvných hrdel, těsněných elastomerovým kroužkem, urychluje na rozdíl od lepených či svařovaných systémů jinak obtížnou montáž. Zároveň zaručuje okamžitou a dokonalou těsnost spojů, čímž umožňuje provedení
tlakové zkoušky bezprostředně po ukončení montáže.
Kvalitnější a stálejší potisk trubek EAN kódem pro bezproblémovou identifikaci a s měřítkem pro snadnější montáž.
ILUSTRAČNÍ FOTO
Obrázky se mohou lišit od originálního produktu/položky.
Recenze (0)
Napsat recenzi
Hodnocení: Nejhorší Nejlepší
Opište prosím kód z obrázku do pole níže:



